What do Caroline Herschel, Ada Lovelace, Mary Somerville, Mary Anning, Lise Meitner, Emmy Noether, Jocelyn Bell, Rosalind Franklin, Vera Rubin, and Hedy Lamarr (among others) have in common? They each made extraordinary scientific discoveries that went unrecognized because they were women, many of them having to endure male colleagues taking credit for their work, then winning Nobel prizes for it. Even Marie Curie — sadly the only woman scientist anyone can ever think of — was dismissed as little more than her husband’s assistant, her Nobel prizes contested by fellow scientists. On December 10, 1911, Marie Curie won her second Nobel, the only person ever to win two Nobels in two different sciences, yet a hundred years later, in 2011, no women were among the nine Nobel winners in the sciences, and women remain severely underrepresented in the STEM professions — science, technology, engineering, and math.
A 2010 report by the American Association of University Women, based on decades of research, concluded that bias and stereotypes still impede the female pursuit of scientific subjects from grade school through academia. Vivian Gornick’s book of interviews with scientists, Women in Science: Then and Now, provides detailed accounts of the discrimination experienced regularly by professionals. Glaring proof of such prejudice was infamously provided by Lawrence Summers, president of Harvard University at the time, who in a creepy, eugenics-ish statement asserted at a 2005 conference on Diversifying the Science & Engineering Workforce that women had “issues of intrinsic aptitude.”
Summers’s views echo Victorian British claims that female brain size was too small to grasp scientific subjects. Richard Holmes, author of The Age of Wonder, has been spending much time in that revered scientific institution The Royal Society of London researching his forthcoming book, The Lost Women of Victorian Science. The society’s archives, as reported in a recent issue of the Guardian, have revealed that despite their presumed encephalic limitations, “women played a far more important role in the development and dissemination of science than had previously been thought.”
Another Victorian, Alfred Lord Tennyson, famously declared, “The woman’s cause is man’s; they rise or fall together.” While Julie Des Jardine’s book The Madame Curie Complex: The Hidden History of Women in Science exposes male scientists’ bad behavior toward their female counterparts, she also notes that women scientists wouldn’t have gained the recognition that they did without the help of notable male allies.
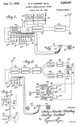
Hedy Lamarr has found a notable male ally in Pulitzer-prize winning science writer Richard Rhodes. His delightful, explosive book entitled Hedy’s Folly: The Life and Breakthrough Inventions of Hedy Lamarr, The Most Beautiful Woman in the World has brought significant, well-deserved recognition to this woman’s remarkable scientific achievements….
Read full article here at Bookslut




Dear Jenny,
What an important issue, so long overlooked by the scientific community and the world in general. Do you remember counting the number of famous women mentioned in the childrens’
readers? There were very few females in the illustrations but Mme. Curie was often
included and always partially hidden behind her large husband who wore a black cloak and was clearly in charge.
Thank you,
Mom